业务园地
【档案学习】图纸的折叠基本要求和操作方法
发布时间:2023-09-04 15:53:17 作者:佚名 来源:兰台驿站 浏览次数:
《建设项目档案管理规范》(DA/T28-2018)规定了建设项目档案工作的组织及职责任务,确立了建设项目文件的形成、归档要求与项目档案管理的原则与方法,适用于新建、改建、扩建和技术改造等建设项目。《规范》中,对竣工图的归档有明确的标准和要求。建设项目在设计、施工阶段,图纸称为设计图、施工图等,工程竣工后经加工整理后统称为竣工图。行业中把图纸又称为技术制图、复制图,图纸折叠方法参照《技术制图、复制图的折叠方法》(GB/T10609.3-2009)执行。
竣工图指工程竣工后真实反映工程施工结果的图样。竣工图及竣工图编制说明属于永久档案保管。竣工图的编制要求中明确要求,竣工图应按 GB/T 10609.3 的规定统一折叠。那么,折叠的方法有哪些?有什么标准呢?
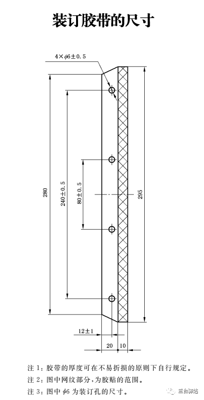
图纸折叠 基本要求 1.折叠后的图纸幅面一般应有A4(210mm×297mm)或A3(297mm×420mm)的规格。对于需装订成册又无装订边的复制图,折叠后的尺寸可以是190mm×297mm 或297mm×400mm。当粘贴上装订胶带后,折叠后复制图上的标题栏均应露在外面。 2.无论采用何种折叠方法,折叠后复制图上的标题栏均应露在外面。 3.折叠图纸应选取一种规定的折叠方法,同一批次图纸应保持折叠方法一致。



